①本周(11.15-11.21)国内共发生91起投融资事件,环比减少9%;披露的融资总额约87.15亿元,环比增加70.31%。
②先进制造、医疗健康活跃度居前;汽车出行披露的融资总额最高,约38亿元。
③卓驭科技获中国一汽超36亿元战略投资,为本周披露金额最高的投资事件。
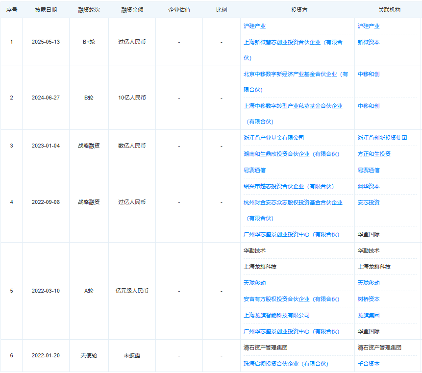
《科创板日报》12月5日讯(记者 陈俊清) 近日,射频滤波器芯片研发商浙江星曜半导体有限公司(下称:“星曜半导体”)完成超亿元C轮融资,本轮投资方为温创投基金、恒远煜基金。
值得一提的是,“温创投基金”全称为“温州市国资创新投资基金”,是温州市政府所属九家市属国企联合发起的市场化基金,是温州市政府三支市级产业高质量发展引导基金之一,目标规模200亿元。
再看星曜半导体,该公司此次融资是其继今年5月完成B+轮融资后,在年内获得的第二笔融资。星曜半导体表示,本轮所融资金将主要用于深化射频前端产品线的技术研发、扩大生产规模以提升交付能力,并进一步加强市场拓展与生态合作。
▍专注射频滤波器等芯片研发 布局5G、Wi-Fi 7赛道
公开信息显示,星曜半导体成立于2020年,由国家“海外引才计划”、浙江省“鲲鹏行动”计划专家领衔创办,是一家从事射频滤波器芯片和射频前端模组研发、生产和销售的企业,总部位于浙江省温州市,并在上海、深圳、成都等地设有研发和销售中心。
星曜半导体创始人为高安明,其博士毕业于美国伊利诺伊大学香槟分校电子与计算机工程专业,长期深耕射频滤波器芯片研究,曾任职美国Skyworks公司高级芯片研发专家,主导SAW、FBAR谐振器与滤波器产品研发,相关技术应用于苹果、三星等旗舰机型,2020年归国创办星曜半导体,现担任该公司董事长。其曾主导完成公司10亿元B融资并建成温州首家滤波器晶圆厂,形成“研发—制造—封测”全产业链闭环。
资料显示,星曜半导体现有员工550余人,研发团队规模超过160人,其中核心研发人员具备国内外高校背景且拥有国外头部射频滤波器或射频芯片公司(Qualcomm、Apple、Qorvo、Skyworks、TDK等)多年工作经验。该公司坚持自主研发路线,已经申请专利150余项。
公开信息显示,星曜半导体基于SAW、TC-SAW、BAW技术已量产120余款滤波器产品和30余款模组产品。其中射频滤波器产品覆盖接收滤波器、发射滤波器、双工器、三工器、四工器等全系列滤波器产品,射频模组产品覆盖射频接收模组、射频发射模组、射频PA产品等。
据了解,星曜半导体的射频滤波器芯片和射频前端模组主要用于消费电子领域,包括手机、平板、无线耳机、智能家居、基站路由等。其中TF-SAW高端滤波器/双工器/四工器为国内首创,DiFEM、L-DiFEM、L-PAMiF模组产品均为全自研产品,公司产品应用于三星、荣耀、华为、OPPO、vivo等品牌终端。
值得注意的是,今年以来,星曜半导体先后发布了针对5G网络的射频模组芯片和Wi-Fi 7无线通信技术的滤波器芯片。
今年6月,该公司发布主研发的基于Phase8L方案的All-in-one L-PAMiD全集成射频模组芯片STR51230-11。将P7LE LB+MHB L-PAMiD两颗芯片方案整合为单颗模组芯片,缩减了PCBA的占用面积,成本仅为P7LE方案的70%左右。今年11月,星曜半导体发布两款Wi-Fi 7 BAW滤波器,分别为低频SFF525014A1 BAW滤波器芯片、高频SFF566314A1 BAW滤波器芯片。
Counterpoint研究数据显示,2025年全球Wi-Fi芯片市场规模将同比增长12%,其中Wi-Fi 6/6E/7设备占比将达43%,Wi-Fi 7被视为增长核心动力。Wi-Fi联盟和IDC预计,到2028年,Wi-Fi 7设备出货量将达21亿台,超越Wi-Fi 6成为市场主流,市场规模有望达到1200亿美元。
产能方面,星曜半导体四工器、三工器、双工器、模组等核心产品出货量超20亿颗。该公司2024年总投资7.5亿元的5G射频滤波器晶圆产线(温州湾新区)已正式投产,截至2025年11月已实现月产7000片晶圆,良率稳定在98%以上。此外,该公司于今年5月收购韩国威盛(Wisol)天津封测工厂,封测产能达250kk pcs/月(按照双工器计算)。
▍曾创下国内射频前端赛道最大单轮融资记录
据星曜半导体介绍,该公司获得了全球排名前五的手机生产厂商华勤技术、龙旗科技、天珑移动的战略投资,并与其建立深度业务合作关系。
在其此前融资中,星曜半导体还获得了国际知名半导体风险投资机构华登国际、安芯投资及央企大唐电信、浙江省产业基金的投资支持。
《科创板日报》记者注意到,工商信息显示,在本轮融资完成前,星曜半导体已历经6轮融资。据统计,除该公司最早的天使轮融资未披露融资金额外,该公司其余融资轮次的融资金额均超亿元,总融资金额约超15亿元。

其中,2024年7月,星曜半导体完成由中国移动产业链发展基金领投的10亿元B轮融资,创下国内近年来射频前端赛道最大单轮融资纪录。该公司表示,本次中国移动通过旗下北京中移数字新经济产业基金、上海中移数字转型产业基金共同对公司投资,星曜半导体正式成为中国移动体系重注的首家滤波器企业,也正式成为浙江省、温州市国资平台共同布局支持的滤波器企业。
星曜半导体的上一轮融资为今年5月宣布完成的B+轮过亿元融资,由新微资本与沪硅产业等上市公司合作发起的产业基金投资。该轮融资是继去年中国移动通信链长基金重仓加持后,星曜半导体再次获得的上下游产业方投资支持。
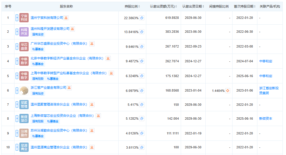
从股权结构方面来看,工商信息显示,星曜半导体前五大股东多为国有资本和产业私募基金,包括温州宁宸科技有限公司、温州科隆开发建设有限公司、广州华芯盛景创业投资中心(有限合伙)、北京中移数字新经济产业基金合伙企业(有限合伙)、上海中移数字转型产业私募基金合伙企业(有限合伙),持股比例分别为22.3863%、13.8416%、9.6461%、9.4872%、6.3248%。
