①香港证监会与香港交易所联名致函IPO保荐人,香港多家大型券商已收到相关通知;
②申报质量下滑的症结主要集中在三方面,投行人手出现短缺、项目工作密集且时间紧迫、承接业务超出自身实际能力等;
③有投行人士指出,港股IPO项目申报过量也存在隐忧,未来港股IPO申报数量或进行合理调控。
财联社(上海,编辑 胡家荣)讯,被称为农村版“淘宝”——汇通达上周五正式递表,中金公司、花旗、华兴资本担任联席保荐机构。

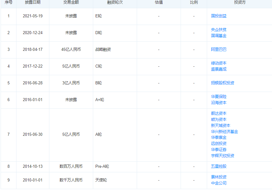
根据天眼查,汇通达屡获资本青睐,共进行9轮融资,获得总投资已超58亿元人民币,阿里巴巴、国投创益、央企贫困地区基金、招商银行、景林投资等均为其股东。

根据招股书介绍,汇通达成立于2010年,该公司是是一家快速成长的致力于服务中国零售行业企业客户的交易及服务平台,并 致力于为中国的下沉市场提供优质商品及服务。
根据弗若斯特沙利文报告,中国下沉零售市场涵盖中国所有乡镇农村及城市郊县地区以及非一、二线城市的城区的零售市场。按照2020年面向下沉市场的交易规模计,汇通达在中国服务零售行业企业客户的交易平台中排名第一。
截至2021年9月30日,汇通达的零售生态系统已覆盖中国21个省及直辖市、逾1.9万个乡镇,连接超过16万家会员零售门店、1万家供应商及2万家渠道合作客户,惠及超过3亿农民消费者。
在2018年、2019年与2020年,汇通达的收入分别为298.02亿元、436.33亿元、496.29亿元,分别同比增长46.4%、13.7%;净亏损分别为2.76亿元、3.05亿元与2.80亿元。不过,这三年经调整净利润分别为1.24亿元、2.50亿元、3.22亿元,2019年和2020年分别同比增长100.7%、29.1%。这三年,汇通达的毛利率分别为3.4%、2.9%与2.7%。
下沉市场蕴含巨大商机
中国下沉市场人口庞大,地域覆盖范围广袤。根据弗若斯特沙利文报告,于2020 年年底前,中国农村常住人口达12.3亿人,占全国总人口87%以上。同时,根据弗若斯特沙利文报告,中国下沉零售市场的市场规模于2020年达到人民币15.1万亿 元,约占中国整体零售市场的79.2%。
下沉市场受益于人均可支配收入不断提高及消费升级,预计将持续稳健增长,并具备巨大的发展潜力。根据弗若斯特沙利文报告,中国下沉市场人均可支配年 收入预计将以7.2%的复合年增长率由2020年的约人民币29,000元增长至2025年的约人 民币40,000元,该增长率高于一、二线市场6.3%,这亦将带动中国下沉市场零售规模增长至2025年的人民币20.6万亿元。
但与中国一线、二线城市不同的是,中国下沉零售市场特征鲜明,尤其在乡镇地区尤为明显,该市场高度依赖线下零售门店,他们在交易过程中发挥着重要作用。另一方面,中国下沉市场零售行业受制于产业链中复杂的交易层级、冗长的交易流程,同时物流基础设施欠发达且整体数字化程度偏低,导致整体行业效率低下。
因此汇通达为了解决这一问题,公司向为其会员零售门店提供相关服务,包括提供SaaS产品的相关培训、指导会员零售门店开展促销活动、为合作客户提供稳定的供应链服务等。

交易业务+服务收入
目前汇通达盈利模式主要为交易业务+服务收入。交易业务主要赚取商品差价,以B2B为核心,通过自有的电商平台「汇通达商城」向会员零售门店及渠道合作客户提供多类商品,涵盖家电、消费电子、农资、酒水、建材、交通出行六大行业。

截止2021年9月30日,汇通达自营业务的收入分别为296.61亿元、433.78亿元、493.0亿元,占总收入的比例分别为99.5%、99.4%、99.3%。数据显示,家用电器、消费电子产品为主要贡献者。其中家用电器收入分别为为170.21亿元、164.29亿元、121.74亿元,占比分别为57.1%、37.7%、24.5%。
在服务业务方面,汇通达针对下沉市场零售门店推出了SaaS+产品以及商家解决方案,门店SaaS主要功能包括会员管理、交易数据分析、线上多店舖及智能收银,以加强客户体验及增加变现。截止2021年9月30日,2018年、2019年及2020年,来自于SaaS+订阅的收入分别为人民币2370万元、4940万元和1191万元。
汇通达此次所筹资金将用于加强与现有客户的关系发展,并进一步扩大客户群体;其次将用于优化供应链的能力及增强IT基础设施建设;随后是用于是寻求战略合作、投资或收购;最后是作为营运资金。