【盘面回顾】简单回顾一下盘面,周五盘面比较恶劣,盘中一度诱多,个人甚至一度认为自己预判出错,结果情绪完全跟不上指数,午后回落较为明显。指数这一轮的反弹大概率已经结束,我在3月25号的时候说过下面这段话。
就周五的盘面来看,2850这个位置短期很难有效突破,所以接下来很可能继续调整,但是基本可以确认下一次反弹是能够有效突破2850的,一旦有效突破,2900几乎是必过,目标大概率是3000点,时间节点至少也要等到5月份,所以4月份下旬的策略是防守为主。说完指数,然后说说短线方面,周五是高低位切换的一天,所以周一高位股就不去碰了,大概率补跌,主要看看首板个股和反包预期个股。

【重点个股点评】
明德生物:周五相对强势的板块是试剂盒,周末发酵情况也比较好,是周一重点关注的板块。然后板块中辨识度最高的是达安基因,但是达安基因成交量实在太大了,修复没问题,反包有点难(以岭药业同样也是),所以主要看看明德生物。明德生物是拥有中国CFDA认证,欧洲的CE认证以及美国FDA认证的公司,有没有三证非常关键。目前三证在手的公司并不多,国内市场就华大基因、迈克生物、明德生物以及圣湘生物4家。相比华大基因、迈克生物,量能上的优势比较明显。
回报还行,虽然大资金买入量有点大,不利于反包,但是买一是新一,买四和买五是机构,锁仓能力比较强,所以不用太担心反包被砸。明天如果小幅低开或者小幅高开,都是符合预期的,开太高或者开太低都不好。
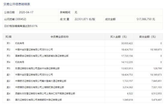
山河药辅:前面卖飞的山河药辅可能要买回来了,山河药辅主要胜在周五尾盘这个冰点的上涨,非常强势,逻辑上基本没有什么太大的变化,主要是控盘资金做得很漂亮。控盘资金以机构为主,有点类似于当时机构对会畅通讯的做盘。明天开得也不会太高,可以从容低吸。
回报方面,2家机构分别买入3093万和1411万,中金财富深圳分公司做T,买入1842万卖出1818万,这里机构和中金财富深圳分公司大概率是一伙的,整体来看控盘力度比较强,二波的预期比较足。
神驰机电:考虑到下周前几天行情不会有什么起色,所以我认为做做庄股没什么太大问题,注意一下仓位就行,最近最强的庄股就是神驰机电,周四尾盘砸开洗盘,周五正常预期怎么也得低开个4-5个点。结果周五开盘价直接新高,非常强势。而且周五这个板并不缩量,换手也充分,周一也不难接。
回报方面,买一华泰证券深圳彩田路继周四买入1497万之后,周五加仓1833万,这个席位是个人非常欣赏的一个席位,风格和欢乐海岸比较类似,所以个人并不担心他持有太多的货。买二桑田路不太确定是哪一位买的,这个席位人太杂。买三中金财富广州番禺桥南路买入998万,这个席位也主做妖股为主,而且头铁程度不亚于欢乐海岸。几个买入席位都还不错。