①贵州茅台董事会审议通过了《2026年贵州茅台酒市场化运营方案》,在产品体系、运营模式、渠道布局、价格机制四大方面,明确多项革新举措;
②在价格机制上,贵州茅台将构建“随行就市、相对平稳”零售价格动态调整机制;
③未来经销价将按情况动态调整,这意味着待需求好转,茅台也可以涨价。
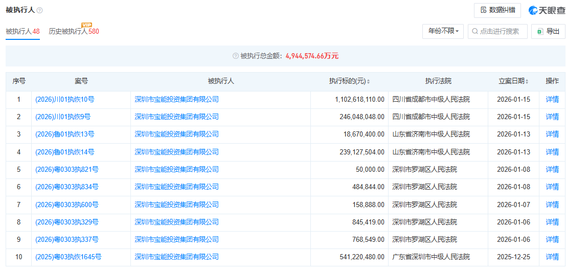
财联社1月16日讯,天眼查天眼风险信息显示,1月15日,深圳市宝能投资集团有限公司、姚振华等新增两则恢复执行信息,执行标的13.4亿余元,执行法院为四川省成都市中级人民法院。
其中一则执行标的约11亿余元,另一则执行标的约2.46亿元。


天眼查风险信息显示,宝能集团现存48条被执行人信息,被执行总金额超494亿元。

此外,该公司失信被执行人(老赖)信息48条,涉案总金额超过38.7亿元;有347则终本案件,执行标的总金额约335亿元,未履行总金额284.8亿元。该公司还有438条历史限消令,涉案总金额超过635.8亿元。
据天眼查App,姚振华名下有10家关联企业,其中,5家存续。宝能集团对外投资了68家公司,其中,11家已经注销;而其间接投资的公司超过14900家。