①资管行业AI人才高薪为个例,薪资水平与人才实力及业绩贡献强相关;
②兼具AI技术与金融业务能力的“T型人才”稀缺,成机构招聘核心难点;
③资管机构吸引AI人才转向平台、培训、激励等多维长期价值竞争。
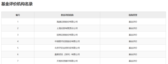
财联社8月1日讯(记者 林坚)《私募证券投资基金运作指引》于8月1日正式实施。记者获悉,在此时点,银河证券启动私募证券投资基金评价业务以及专项系统的准备工作。截至目前,证券基金业具有基金评价评奖资质的机构不多,仅10家,其中包括银河证券、海通证券、上海证券、招商证券等4家券商,济安金信、晨星资讯以及天相投顾等3家公司。公募评价逐渐成熟,私募评价工作进展不一。

图为目前具有基金评价机构资质的金融机构名单
银河证券副总裁罗黎明表示,此次启动私募评价,是银河证券作为央企券商积极贯彻落实二十届三中全会精神,进一步全面深化改革,践行金融为民理念,将现有公募基金评价的优势拓展到私募基金领域,为基金投资人、基金管理人、基金销售机构和金融机构等提供专业客观的评价服务,为私募基金领域高质量发展贡献“银河力量”。
采取“横向到边纵向到底”的穿透思路
作为首批获准资格的基金评价机构之一,银河证券基金研究中心将对公司私募基金评价业务进行集中统一的系统化管理。目前,中国银河证券基金研究中心已具备开展私募证券基金评价业务的条件。即将推出的私募基金评价业务,有哪些值得关注的地方?记者根据银河证券基金研究中心总经理、基金评价业务负责人胡立峰的介绍进行了梳理。
核心在于银河证券此次将采取“横向到边纵向到底”的组合资产类别全面覆盖与对下层资产穿透评价的思路。过往私募基金评价主要采取净值数据,但净值数据形成需要深入到组合层面,针对市场中存在的私募证券基金信息数据透明度不高等问题,银河证券强调了横向到边以及纵向到底两个方法论。
横向到边是指在投资范围、投资组合、收益构成等对各个资产类别都覆盖,实现每类资产信息数据的采集到位,对净值的形成进行评价确认。
纵向到底是指针对市场中存在的层层嵌套与信息数据透明度不高等问题,尤其是个别证券类FOF私募基金“爆雷”现象,银河证券的评价要求是要穿透到最底层的股票、债券、货币等基础资产,即采集到最底层基础资产的信息与数据。
在私募证券基金评价方法上,银河证券基金研究中心将采取两条线路:一是对标公募评价。指的是把私募证券基金对标分类最接近的公募基金类型进行比较,把5万亿的私募证券基金与31万亿的公募证券基金有机结合起来,实现“公私募一体化评价”。这是一种创新举措。
在胡立峰看来,对标公募评价的意义在于,把公募、私募共性的投资理念、投资策略、投资范围、业绩规律特征等抽象出来,剩余即二者差异点,方便投资人进行综合比较,也便于控制风险。
二是基于采集或申报的私募样本的评价,为私募证券基金持有人以及销售机构提供更多元化的评价服务。据了解,当前银河证券在私募基金领域已经形成托管、销售、服务、研究、评价等全链条综合服务体系。
据记者从银河证券了解,公司基金研究中心作为基金评价机构将按照《证券投资基金法》等制度要求,秉持合法合规、独立专业、客观公正、勤勉尽职的原则,开展各项评价工作。
谈及下一步展业的规划,据银河证券副总裁罗黎明介绍,公司将发挥综合优势,高标准严要求,从信息数据采集、评价指标模型、评价结果使用等严格遵守监管与自律规定,努力形成评价领域的“银河特色”。启动私募评价各项工作后,经过内外部评审验收和履行相关程序后即按照《私募证券投资基金运作指引》的规定向签约的管理人、履行必备程序的合格投资人、有代销关系的基金销售机构等提供服务。
券商业务谋变,更加精准和高质量
可以看到,随着监管政策的更新和市场环境的变化,券商需要通过评价业务来适应新的监管要求,如《私募证券投资基金运作指引》的发布,要求私募证券投资基金应当符合一系列运作规范,券商的评价业务可以帮助投资者更好地理解和适应这些规范。
受访的业界人士告诉记者,私募证券投资基金评价业务成本比较高,且目前持有资质的机构寥寥可数。银河证券启动私募基金评价业务,也进一步说明了公司看好私募证券基金行业高质量发展的前景,舍得投入力量与资源进行深入评价与跟踪研究。整体来看,券商通过评价业务可以优化自身的业务结构,提供更加精准和高质量的服务,满足不同投资者的需求,同时也有助于券商自身的品牌建设和市场竞争力提升。
以银河证券为例,推出私募基金评价业务及系统有两个业务增量值得关注:
资管业务。无论私募还是公募,下投必然要研究。银河证券具备评价资质,采集净值规模等基金信息数据更容易一些,结合公司本身是大券商,有财富端优势,以后净值与评价数据上有优势,提供透明的信息与数据,建立信任关系。
财富业务。现在券商在财富业务的逻辑正向买方投顾转向,有了基金评价、基金研究支持,以后可以基于客户角度去做服务,再落地到产品。可以把产品销售体系转向AUM服务体系。这是现代财富管理的一个重要边界。